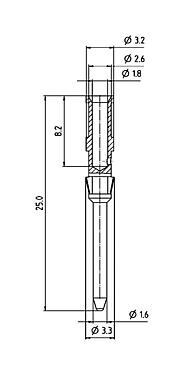
General features
Moreless| Part no. | 61 0894 139 |
| Connector design | Crimpcontact |
| Version | Pin contact |
| Connection cross-section | 1.50 mm² |
| Weight (g) | 0.64 |
| Customs tariff number | 85369095 |
Material
Moreless| Contact material | CuZn (brass) |
| Contact plating | Ag (silver) |
| REACH SVHC |
CAS 7439-92-1 (Lead) |
| SCIP number | ced0afae-af79-4203-83a1-b2c4ff30098c |
Classifications
Moreless| eCl@ss 11.1 | 27-46-04-03 |
Security notices
- The user must take suitable safety precautions to ensure that the connector cannot be accidentally disconnected.


