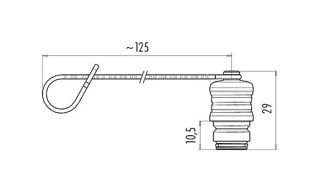
主要参数
更多折叠| 型号 | 08 2587 000 000 |
| 连接器样式 | 保护盖 |
| 防护等级 | IP67 |
| 温度范围 | -40 °C/+85 °C |
| 重量 (gr) | 4.74 |
| 客户关税号 | 85366990 |
| 原产国 | DE |
材料
更多折叠| 接触体材料 | 黑色 |
| 材料保护帽 | PA |
| 表带材质 | PUR |
| 材料密封 | 氟橡胶 FPM FKM / |
| REACH SVHC |
None (No pollutants) |
| 存在 PFAS | SCIP-number not available |
分类
更多折叠| eCl@ss 11.1 | 27-44-02-08 |
| ETIM 9.0 | EC002314 |
安全提示
- 用户必须采取适当的安全防范措施,以确保连接器不能意外断开


